背面波纹手轮
作者:网站管理员
来源: 本站原创日期:2014-08-30 16:26:29
点击:5952
属于:机床操作件
详细介绍
|
产品名称手轮;
|
|
产品描述:
|
小波纹手轮
|
|
JB/T7273.1-94
(GB4141.20-84 JB1351-73)
|
d
|
D
|
H
|
h
|
|
8
|
63
|
20
|
14
|
|
10
|
80
|
24
|
16
|
|
12
|
100
|
28
|
18
|
|
12
|
125
|
32
|
20
|
|
|
小手轮
|

|
JB/T7273.2-94
(GB4141.21-84 JB1352-73)
|
d
|
D
|
H
|
|
10
|
80
|
32
|
|
12
|
100
|
36
|
|
12
|
125
|
40
|
|
|
镀铬手轮
|

|
JB/T7273.3-94
(GB4141.22-84 JB1353-73)
|
D
|
d
|
H
|
|
100
|
12
|
32
|
|
125
|
12
|
36
|
|
160
|
15 16
|
40
|
|
200
|
18 20
|
45
|
|
250
|
22 25
|
50
|
注:键槽按GB1095-79规定
|
|
波纹镀铬手轮
|

|
GB4141.23-84
(JB1353-73)
|
D
|
d
|
H
|
|
160
|
16
|
40
|
|
200
|
18 20
|
45
|
|
250
|
22.25
|
50
|
|
320
|
25.28
|
55
|
|
400
|
28.32
|
60
|
|
|
圆轮缘手轮
|

|
JB/T7273.5-94
(GB4141.24-84 JB1356-73)
|
D
|
d
|
|
100
|
12
|
|
125
|
12
|
|
160
|
16
|
|
200
|
18 20
|
|
250
|
22 25
|
|
280
|
25 30
|
|
300
|
25 30
|
|
400
|
30 35
|
注:键槽按GB1095-79规定
|
|
内波纹手轮
|

|
JB/T7273.7-94(JB3717.10-85)
|
d
|
D
|
h
|
B
|
H
|
L
|
|
12
|
100
|
18
|
26
|
41
|
50
|
|
125
|
30
|
44
|
63
|
|
|
|
16
|
160
|
20
|
32
|
54
|
80
|
|
18
|
200
|
25
|
34
|
56
|
|
注:L为手柄长度,
键槽按GB1095-79规定
|
|
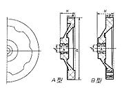
背面波纹手轮
|

|
|
JB/T7273.8-94(JB3717.9-85)
|
|
d
|
D
|
h
|
B
|
H
|
L
|
|
10
|
80
|
16
|
12
|
22
|
50
|
|
12
|
100
|
18
|
14
|
28
|
63
|
|
12
|
125
|
18
|
16
|
32
|
|
16
|
160
|
20
|
18
|
38
|
80
|
|
18
|
200
|
25
|
20
|
44
|
|
22
|
250
|
28
|
25
|
52
|
100
|
|
注:L为手柄长度,
键槽按GB1095-79规定
|
|
带可折手柄双幅条手轮
|

|
JB/T7273.10-94(JB3717.12-85)
|
d
|
D
|
H
|
h
|
B
|
L
|
|
12
|
100
|
42
|
18
|
20
|
50
|
|
125
|
45
|
22
|
63
|
|
16
|
160
|
48
|
20
|
25
|
80
|
|
18
|
200
|
54
|
25
|
28
|
注:键槽按GB1095-79规定
|
|
双柄手轮
|

|
JB3717.15-85(Z55-2)
|
d
|
D
|
H
|
h
|
B
|
L1
|
L2
|
|
8
|
63
|
20
|
16
|
12
|
50
|
32
|
|
10
|
80
|
22
|
|
12
|
100
|
28
|
18
|
14
|
63
|
36
|
注:键槽按GB1095-79规定
|
|
满幅手轮
|
|
QB8251.6-98
|
D
|
d
|
B
|
h
|
|
160
|
16
|
59
|
34
|
|
180
|
16
|
59
|
36
|
|
240
|
24
|
120
|
100
|
注:主要用于印刷机械
|
|
铣床手轮
|

|
B1Z52-8:200
B1Z52-8:250
|
D
|
d
|
d1
|
备注
|
|
200
|
30
|
22
|
通用
X62W X52K
|
|
250
|
30
|
22
|
通用
X63W X53K
|
|
名称
|
技术规格
|
备注
|
|
分度盘
|
4501
|
铣床通用
|
|
大把手
|
4502
|
铣床通用
|
|
刻度盘
|
586
|
铣床通用
|
|
|
带可折手柄注塑轮
|

|
|
D
|
d
|
H
|
|
200
|
14
|
25
|
|
230
|
14
|
25
|
|
|
备注:如果此产品不能满足您的要求,特推相关荐以下产品: